Energy absorption of new thin-walled, multi-cellular, tubular structures with Sierpinski hierarchical characteristics under axial impact
-
摘要:
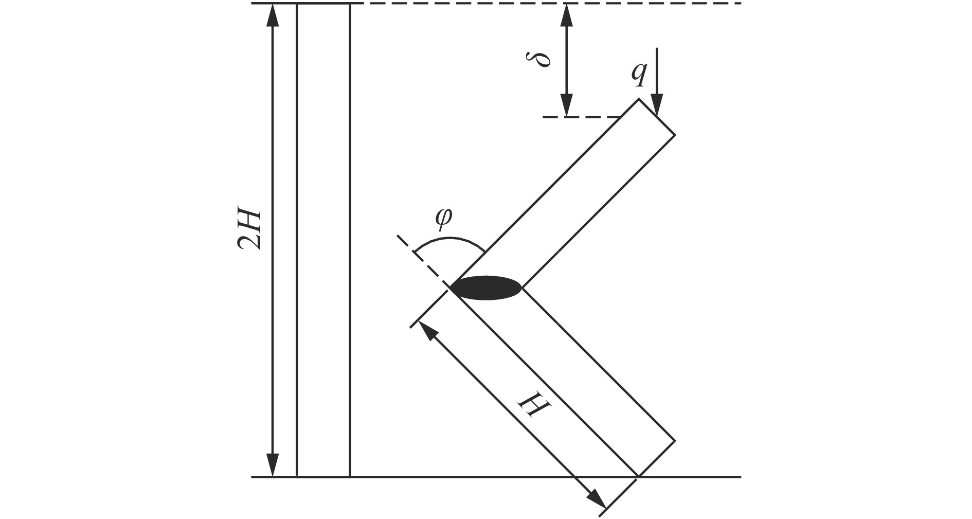
为提高薄壁结构的吸能能力,基于Sierpinski分形结构提出了一种具有层级特性的新型薄壁管,即Sierpinski层级管(Sierpinski hierarchical tube, SHT)。采用非线性有限元法对SHTs在轴向冲击载荷作用下的变形模式和能量吸收特性进行了数值分析,并与普通三角形薄壁管在轴向冲击载荷作用下的变形模式和能量吸收特性进行了对比。结果表明:SHTs的变形模式为轴对称渐进屈曲模式,在薄壁管中引入Sierpinski层级特性后,胞壁弯曲过程的半折叠波长减小,促使压缩过程中形成更多的塑性折叠单元,有利于提高薄壁结构能量吸收能力。进一步基于能量守恒理论和塑性铰理论对SHTs的轴向压缩应力进行理论求解,并通过有限元数值模拟验证其准确性。在相同的相对密度下,一阶、二阶及三阶SHTs的动态压缩应力较普通三角形薄壁管的动态压缩应力提高了85.8%、138.2%和183.8%。将Sierpinski层级特性引入薄壁管的设计中,能够有效提高薄壁管的耐撞性能。
-
关键词:
- 薄壁结构 /
- Sierpinski分形 /
- 轴向压缩 /
- 变形模式 /
- 耐撞性
Abstract:In order to improve the energy absorption capacity of thin-walled structures, a new type of thin-walled tube (SHT) with hierarchical characteristic was proposed based on the Sierpinski fractal structure. The deformation mode and energy absorption characteristics of SHTs under axial impact load were simulated using the nonlinear finite element method, and compared with those of ordinary triangular thin-walled tubes. The results show that the deformation mode of the new SHT is an axisymmetric progressive buckling mode. With the introduction of the Sierpinski hierarchical characteristics, the half-folded wavelength of the cell wall bending process is reduced, hence more plastic folding elements are formed and more energy is absorbed. Furthermore, theoretical expressions of the axial compression stress were obtained based on the energy conservation theory and plastic hinge theory. The correctness of the theoretical formula was verified by comparing with the finite element simulation. The results display that under the same relative density, the dynamic compressive stresses of the first-, second- and third-order SHTs are 85.8%, 138.2% and 183.8%, respectively, higher than that of the ordinary triangular thin-walled tubes. The introduction of the Sierpinski hierarchical characteristics into the design of the thin-walled tubes can effectively improve the crashworthiness of the thin-walled tubes, and it can provide a reference for the research and design of new energy absorbers.
-
Key words:
- thin-walled structure /
- Sierpinski fractal /
- axial impact /
- deformation mode /
- crashworthiness
-
表 1 薄壁方形管动态平均压缩力模拟结果与实验数据[14]的比较
Table 1. Comparison between simulated and experimental mean dynamic compressive forces[14] for thin-walled square tubes
编号 $ {P}_{{\rm{m}}}^{\rm{d}}/{\rm{k}}{\rm{N}} $ 误差/% 实验[14] 模拟 S2 10.26 10.86 5.8 S3 15.71 16.70 6.3 S4 18.83 19.47 3.4 S5 29.83 31.92 7.0 表 2 各采样点有限元结果与理论预测值对比
Table 2. Comparison of finite element results and theoretical predictions for all the sampling points
层级级数 $ \bar {\rm{\rho }} $ $ {t}_{i} $/mm $ {l}_{i} $/mm $ {\sigma }_{{\rm{m}}}^{\rm{d}} $/MPa 相对误差/% 模拟 理论 0th 0.077 1.00 90 1.925 1.968 −2.18 0.100 1.30 2.840 2.917 −2.64 0.123 1.60 4.118 3.982 3.42 1st 0.077 0.67 45 3.577 3.523 1.54 0.100 0.87 4.948 5.221 −5.23 0.123 1.07 7.046 7.129 −1.17 2nd 0.077 0.44 22.5 4.586 4.446 3.14 0.100 0.58 6.407 6.590 −2.77 0.123 0.71 9.186 8.998 2.09 3rd 0.077 0.30 11.25 5.464 5.271 3.67 0.100 0.39 7.720 7.813 −1.19 0.123 0.47 10.972 10.669 2.84 -
[1] MCFARLAND R K. Hexagonal cell structures under post-buckling axial load [J]. AIAA Journal, 1963, 1(6): 1380–1385. DOI: 10.2514/3.1798. [2] WIERZBICKI T. Crushing analysis of metal honeycombs [J]. International Journal of Impact Engineering, 1983, 1(2): 157–174. DOI: 10.1016/0734-743X(83)90004-0. [3] WIERZBICKI T, ABRAMOWICZ W. On the crushing mechanics of thin-walled structures [J]. Journal of Applied Mechanics, 1983, 50(4a): 727–734. DOI: 10.1115/1.3167137. [4] TRAN T N, HOU S J, HAN X, et al. Theoretical prediction and crashworthiness optimization of multi-cell triangular tubes [J]. Thin-Walled Structures, 2014, 82: 183–195. DOI: 10.1016/j.tws.2014.03.019. [5] 尹汉锋, 文桂林. 基于简化基本折叠单元法的蜂窝耐撞性优化设计 [J]. 机械工程学报, 2011, 47(16): 93–100. DOI: 10.3901/JME.2011.16.093.YIN H F, WEN G L. Crashworthiness optimization design of honeycombs based on the simplified basic folding element method [J]. Journal of Mechanical Engineering, 2011, 47(16): 93–100. DOI: 10.3901/JME.2011.16.093. [6] SUN G Y, JIANG H, FANG J G, et al. Crashworthiness of vertex based hierarchical honeycombs in out-of-plane impact [J]. Materials and Design, 2016, 110: 705–719. DOI: 10.1016/j.matdes.2016.08.032. [7] MOUSANEZHAD D, EBRAHIMI H, HAGHPANAH B, et al. Spiderweb honeycombs [J]. International Journal of Solids and Structures, 2015, 66: 218–227. DOI: 10.1016/j.ijsolstr.2015.03.036. [8] SUN Y T, WANG B, PUGNO N, et al. In-plane stiffness of the anisotropic multifunctional hierarchical honeycombs [J]. Composite Structures, 2015, 131: 616–624. DOI: 10.1016/j.compstruct.2015.06.020. [9] 张越, 李世强, 王志华. 二阶层级自相似四边形蜂窝动力压缩行为数值模拟 [J]. 高压物理学报, 2017, 31(4): 358–363. DOI: 10.11858/gywlxb.2017.04.002.ZHNAG Y, LI S Q, WANG Z H. Dynamic crushing response of self-similar second order hierarchical square honeycombs [J]. Chinese Journal of High Pressure Physics, 2017, 31(4): 358–363. DOI: 10.11858/gywlxb.2017.04.002. [10] 于国际, 李飞鹏, 李世强, 等. 二阶层级自相似六边形蜂窝的面内压缩行为 [J]. 太原理工大学学报, 2018, 49(3): 494–500. DOI: 10.16355/j.cnki.issn1007-9432tyut.2018.03.021.YU G J, LI F P, LI S Q, et al. In-plane compressive behavior of a self-similar second order hierarchical hexagonal honeycomb [J]. Journal of Taiyuan University of Technology, 2018, 49(3): 494–500. DOI: 10.16355/j.cnki.issn1007-9432tyut.2018.03.021. [11] 赖燕辉, 江五贵, 吴瑶. 自相似多级纳米蜂窝铝结构力学性能的分子动力学模拟 [J]. 复合材料学报, 2019, 36(4): 946–953. DOI: 10.13801/j.cnki.fhclxb.20180517.001.LAI Y H, JIANG W G, WU Y. Molecular dynamics simulation on mechanical properties of nano self-similar hierarchical honeycomb Al [J]. Acta Materiae Compositae Sinica, 2019, 36(4): 946–953. DOI: 10.13801/j.cnki.fhclxb.20180517.001. [12] SIERPINSKI W. Sur une série potentielle qui, étant convergente en tout point de son cercle de convergence, représente sur ce cercle une fonction discontinue [J]. Rendiconti del Circolo Matematico di Palermo, 1916, 41(1): 187–190. DOI: 10.1007/BF03018294. [13] SANTOSA S P, WIERZBICKI T, HANSSEN A G, et al. Experimental and numerical studies of foam-filled sections [J]. International Journal of Impact Engineering, 2000, 24(5): 509–534. DOI: 10.1016/S0734-743X(99)00036-6. [14] ZHANG X, ZHANG H. Energy absorption of multi-cell stub columns under axial compression [J]. Thin-Walled Structures, 2013, 68: 156–163. DOI: 10.1016/j.tws.2013.03.014. [15] ABRAMOWICZ W, JONES N. Dynamic axial crushing of square tubes [J]. International Journal of Impact Engineering, 1984, 2(2): 179–208. DOI: 10.1016/0734-743X(84)90005-8. [16] CHEN W G, WIERZBICKI T. Relative merits of single-cell, multi-cell and foam-filled thin-walled structures in energy absorption [J]. Thin-Walled Structures, 2001, 39(4): 287–306. DOI: 10.1016/S0263-8231(01)00006-4. [17] HANSSEN A G, LANGSETH M, HOPPERSTAD O S. Static and dynamic crushing of circular aluminum extrusions with aluminum foam filler [J]. International Journal of Impact Engineering, 2000, 24(5): 475-507. DOI: 10.1016/S0734-743X(99)00170-0. -


下载: